
Cheville pour corps creux
Survolez les cases du tableau avec le curseur, pour obtenir plus d'informations sur les produits disponibles. Puis cliquez sur la case désirée pour ajouter un produit au panier.
| Légendes : | |
|---|---|
| Produit non disponible | |
| Bientôt disponible ! | |
| Profitez-en ! | |
| Produit disponible en expédition immédiate |
| Diamètre | ||||||
|---|---|---|---|---|---|---|
M4 | M5 | M6 | ||||
| Longueur | ||||||
| 41mm | ||||||
| 43mm | ||||||
| 45mm | ||||||
| 47mm | ||||||
| 60mm | ||||||
| 74mm | ||||||
Cheville pour corps creux
La cheville métallique à expansion TMC avec vis pas métrique prémontée, permet la fixation d’éléments sur plaque de plâtre ou cloison sèche, ou tout support creux dont la cavité correspond aux dimensions de la cheville.
La cheville est disposée dans le perçage sur le support avec une pince dédiée, l’action de la pince permet l’expansion et le verouillage de la cheville contre le support.
Caractéristiques
Matière :
- Acier electrozingué
Avantages :
- Colerette large pour compenser les imperfections du perçage,
- La pose avec pince limite le risque de dégradation du support à la pose (cas produit avec pose vissée),
- La géométrie de la cheville, notamment les parties pliantes, sont optimisées pour le confort de pose et une résistance accrue.
Application
Domaines d’utilisation :
- Equipements électriques,
- Menuiseries intérieures,
- Supports de tuyaux et radiateurs.
Supports :
- Plaque de plâtre,
- Brique alvéolaire (compatibilité à vérifier),
- Panneaux.
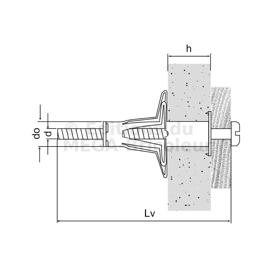
Dimensions
| Références | Référence | Dimensions vis [dxLv] [mm] | Ø perçage [d0] [mm] | Dimensions de la cheville [Ø x L] [mm] | Epaisseur mini paroi support [hmin] [mm] | Epaissseur maxi paroi [hmax] [mm] |
|---|---|---|---|---|---|---|
| 7500100403800 | TMC | M4x41 | 8 | 8x33 | 4 | 9 |
| 7500100404500 | TMC | M4x47 | 8 | 8x39 | 9 | 16 |
| 7500100504500 | TMC | M5x43 | 10 | 10x37 | 5 | 13 |
| 7500100505800 | TMC | M5x60 | 10 | 10x53 | 5 | 18 |
| 7500100507100 | TMC | M5x74 | 10 | 10x65 | 18 | 32 |
| 7500100604500 | TMC | M6x45 | 12 | 12x37 | 5 | 12 |
| 7500100605800 | TMC | M6x60 | 12 | 12x53 | 5 | 18 |
| 7500100607100 | TMC | M6x74 | 12 | 12x66 | 18 | 32 |
Capacités recommandées
| Capacités reconmmandées | Données d’installation | |||||||||||
|---|---|---|---|---|---|---|---|---|---|---|---|---|
| Traction - Nrec | Cisaillement - Vrec | |||||||||||
| Références | Référence | Dimensions vis [dxLv] [mm] | Plaque de plâtre 12,5 mm | Plaque de plâtre 2 x 12,5 mm | Brique | Plaque de plâtre 12,5 mm | Plaque de plâtre 2 x 12,5 mm | Brique | Distance entre les bords [ccr,N] [mm] | Espacement [scr,N] [mm] | Couple maximal [Nm] | |
| 7500100403800 | TMC | M4x41 | 0.08 | - | 0.12 | 0.15 | - | 0.2 | 50 | 50 | 1.5 | |
| 7500100404500 | TMC | M4x47 | 0.08 | - | 0.12 | 0.15 | - | 0.2 | 50 | 50 | 1.5 | |
| 7500100504500 | TMC | M5x43 | 0.12 | - | 0.18 | 0.2 | - | 0.25 | 75 | 75 | 1.5 | |
| 7500100505800 | TMC | M5x60 | 0.12 | - | 0.18 | 0.2 | - | 0.25 | 75 | 75 | 1.5 | |
| 7500100507100 | TMC | M5x74 | - | 0.2 | 0.18 | - | 0.25 | 0.25 | 75 | 75 | 1.5 | |
| 7500100604500 | TMC | M6x45 | 0.16 | - | 0.2 | 0.25 | - | 0.3 | 85 | 85 | 3 | |
| 7500100605800 | TMC | M6x60 | 0.16 | - | 0.2 | 0.25 | - | 0.3 | 85 | 85 | 3 | |
| 7500100607100 | TMC | M6x74 | - | 0.2 | 0.2 | - | 0.3 | 0.3 | 85 | 85 | 3 | |
*Ces valeurs sont à titres indicatifs
SIMPSON Strong-Tie
Une fiabilité et un service sans équivalent
Depuis son implantation en Europe en 1994, la société Simpson Strong-Tie est devenue une valeur sûre en matière de connecteurs grâce à un savoir-faire reconnu et une qualité de produits testés. Forte de ses années d’expériences, elle fait de la sécurité, de la fiabilité et du respect des règlementations en vigueur un engagement permanent.
















