Pieds de poteau pour angle de dalle béton
Pied de poteau réglable pour angle de dalle béton
Les pieds de poteau type PBLR ont été conçus afin de répondre aux exigences réglementaires relatives au respect des distances des chevilles mécaniques en bord de dalle béton. Ils peuvent être utilisés indifféremment en angle, au bord ou au centre de la dalle.
Caractéristiques :
Matière :
- Acier S235JR suivant NF EN 10025.
- Finition électrozinguée jaune irisé (sans Chrome VI) suivant NF EN ISO 2081.
Avantages :
- Réglable sur chantier,
- Conception adaptée à la réglementation pour une installation en coin de dalle,
- Permet de respecter les distances aux bords des goujons.
Applications
Support :
- Porteur : bois, béton, acier.
- Porté : bois massif, bois composite, bois lamellé collé.
Domaines d’utilisation :
- Fixation de garde corps,
- Fixation de barrière intérieure...
Données techniques
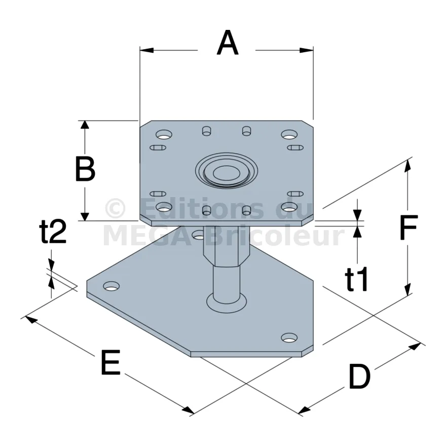
Dimensions
| Références | Dimensions [mm] | Perçages platine haute | Perçages platine basse | |||||||
|---|---|---|---|---|---|---|---|---|---|---|
| A | B | D | E | F | G | t | Ø6x12 | Ø12 | Ø12 | |
| PBLR | 130 | 130 | 130 | 171 | 110-150 | 20 | 5 | 8 | 4 | 3 |
Valeurs Caractéristiques - Bois sur béton
| Références | Fixations | Valeurs Caractéristiques - Bois C24 [kN] | |||
|---|---|---|---|---|---|
| Sur poteau | Sur béton | R1,k | |||
| Quantité | Type | Quantité | Type | ||
| PBLR | 4 | Ø10 | 4 | Ø10* | 51.1/kmod^0.5 |
* Référez-vous à la gamme d’ancrage Simpson Strong-Tie pour sélectionner l’ancrage adapté. Les solutions standards sont à choisir en fonction du type de béton, de l’entraxe et des distances aux bords.
Valeurs caractéristiques simplifiées - Bois sur béton
| Références | Fixations | Valeurs caractéristiques simplifiées - Bois C24 [kN] | |||
|---|---|---|---|---|---|
| Sur poteau | Sur béton | R1,k** | |||
| Quantité | Type | Quantité | Type | ||
| PBLR | 4 | Ø10 | 4 | Ø10* | 61 |
* Référez-vous à la gamme d’ancrage Simpson Strong-Tie pour sélectionner l’ancrage adapté. Les solutions standards sont à choisir en fonction du support (béton, maçonnerie...) de l’entraxe et des distances aux bords.
**Les valeurs caractéristiques données dans le tableau ci-dessus sont des valeurs simplifiées basées sur une hypothèse de durée de chargement et de classe de service (Charge moyen terme et classe de service 3, kmod = 0,7 suivant EC5 (EN1995)). Pour d’autres durées de chargement et classes de service, veuillez vous référer à l’ETE-07/0285.
SIMPSON Strong-Tie
Une fiabilité et un service sans équivalent
Depuis son implantation en Europe en 1994, la société Simpson Strong-Tie est devenue une valeur sûre en matière de connecteurs grâce à un savoir-faire reconnu et une qualité de produits testés. Forte de ses années d’expériences, elle fait de la sécurité, de la fiabilité et du respect des règlementations en vigueur un engagement permanent.
Fixations
Sur poteau bois :
Sur béton :
- Cheville mécanique : goujon FM 753 EVO M10x78/5 ou alternative FM-753 M10x75/5 3DG (Revêtement adapté pour un usage en extérieur),
- Ancrage chimique : résine AT-HP + Tige filetée LMAS M10-120/25.
Installation
Partie haute :
1. Placer la platine supérieure du pied de poteau sous le poteau,
2. Fixer cette platine au poteau à l’aide de tirefonds LAG (pré-perçage nécessaire)
Partie basse :
1. Positionner le poteau verticalement dans la structure,
2. Identifier la position des ancrages au sol sur le support,
3. Percer le support verticalement, au diamètre et à la profondeur préconisés pour les fixations choisies,
4. Fixer la platine inférieure au sol à l’aide d’ancrages adaptés.
Remarques
ATTENTION : Poteau de section maximale 200 x 200 mm.
- Le perçage Ø11 mm situé sur la pointe de la platine basse peut être utilisé lors d’une fixation en pleine dalle.
- Il ne doit pas être utilisé en bord de dalle.
- La distance entre le bord de dalle et la cheville est minimale. Il est possible de reculer le pied afin d’obtenir une distance plus importante.
















